Toodete kasutusvladkonnad:

Objektilt tagasipeegelduv BGS

Objektilt tagasipeegelduv ja tausta mahasurumisega andur on oma ülesehituselt teistsugune, kui seda on tavaline objektilt tagasipeegelduv andur. Inglise keeles kannab selline andur nimetust "Diffuse sensor with background supression". Lühendatult BGS ja seda tähistatakse alljärgnevalt:

Vajadus sellise anduri liigi järele tingis asjaolu, et väga paljudes kohtades, kus on hea ja soodne kasutada objektilt tagasipeegelduvat andurit, hakkavad meid huvitava objekti taga olevad muud objektid korrektset tunnistamist segama. Näiteks konveierlindil, millel liiguvad pakid, on nende loendamiseks igat pakki eraldi vaja tunnistada. Samal ajal aga liiguvad pakkide taga teisel pool konveierit inimesed või liiguvad teised pakid või mehanismid. Eriti kriitiline on tumedate objektide tunnistamine heledal või kirkal taustal. Ühelt poolt nõuab tumeda objekti tunnistamine valguse piisavaks tagasipeegeldumiseks tavalisest suuremat valgusenergiat. Teiselt poolt suurema valgusenergiaga andur hakkabki sel juhul tunnistama heledat või kirgast tausta ja mitte meid huvitavat objekti. Ja tausta ees olevad tumedad objektid jäävadki sel juhul tunnistamata.

 

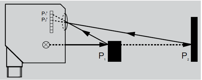
Kuidas objektilt tagasipeegelduv ja tausta mahasurumisega andur töötab. Seda illustreerib alljärgnev joonis:

 

Tausta mahasurumise funktsioon on anduris ALATI valguskiire kolmnurkse ülesehitusega.
Anduri saatja kiirgab välja valgust, mis peegeldub tagasi kiire ette jäävalt objektilt. Objekti P1 on see, mida peab tunnistama. Objekt P2 aga on objekt, mis on tunnistamist vajava objekti taustal. Jooniselt näeme, et mõlemalt objektilt tagasipeegelduvatel kiirtel on erinevad nurgad. See tähendab, et vastuvõtjas jõuab tunnistamist vajavalt objetilt tagasipeegelduv kiir vastuvõtja sektorisse P1´, mis on defineeritud kui õige signaal. Taustalt tagasipeegelduv kiir aga jõuab vastuvõtja teise sektorisse P2´, mida ingoreeritakse. Seega selline kiirte eristus vastuvõtjas võimaldab tunnistada väga kindlalt objekti ka näiteks siis, kui  taust peegeldab oluliselt rohkem valgust tagasi, kui tunnistamist vajav objekt ise. Selline andur töötab 100% alati ka siis, kui tunnistatav objekt on must ja taust on valge või mõni muu kirgas värvus või väga intensiisvse tagasipeegeldusega materjal.

* Kohustuslikud väljad Saada